ТЕХНОЛОГИЯ И ОПЫТ
Вся технология Progalvano объединяется в Minirotor: специальное оборудование, предназначенное для производства небольших партий и отбор проб. В дополнение к широкому выбору перфораций (круговых, сетчатых, ламинированных), стандартный ряд Minirotor включает в себя шестигранные и семигранные цилиндры с 2 различными размерами толщины (135-220) и 5 вариантами длины.
КОД | МОДЕЛЬ | ТОЛЩИНА ПАНЕЛИ | ОБЪЕМ | ВМЕСТИМОСТЬ | КАТОД | ВЕС |
n. | mm | dm3 | kg | mm² | kg | |
ТОЛЬКО ФРОНТАЛЬНАЯ ДВЕРЬ + ЗАЖИМЫ В PVDF | ||||||
MP1013 | 100/135 | 4 | 1,5 | 1,5 | 16 | 4 |
MP2013 | 200/135 | 4 | 3 | 3 | 16 | 4,5 |
MP2513 | 250/135 | 4 | 3,8 | 3,5 | 16 | 5 |
MP3722 | 370/220 | 4 | 10,5 | 6 | 25 | 7 |
MP4722 | 470/220 | 4 | 13,5 | 8 | 25 | 8 |
MP3722-7 | 370/220-7 | 4 | 15 | 8 | 25 | 7 |
MP4722-7 | 470/220-7 | 4 | 19 | 10 | 25 | 8 |

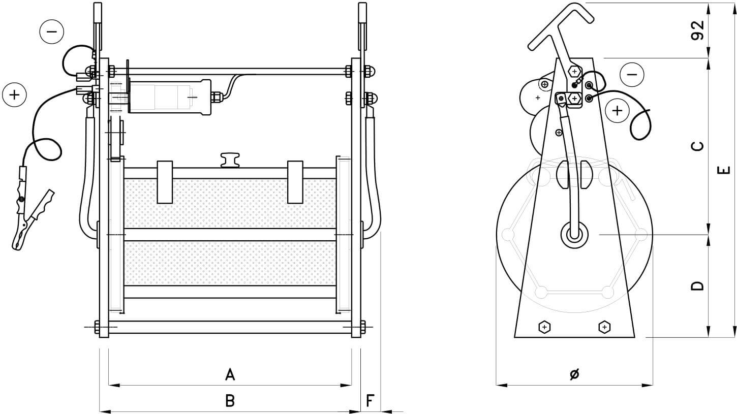
КОД | МОДЕЛЬ | MOD. | A | B | C | D | E | ø |
n. | mm | |||||||
ТОЛЬКО ФРОНТАЛЬНАЯ ДВЕРЬ + ЗАЖИМЫ В PVDF | ||||||||
MP1013 | 100/135 | 100 | 155 | 185 | 241 | 129 | 462 | 190 |
MP2013 | 200/135 | 200 | 255 | 285 | 241 | 129 | 462 | 190 |
MP2513 | 250/135 | 250 | 305 | 335 | 241 | 129 | 462 | 190 |
MP3722 | 370/220 | 370 | 405 | 435 | 294 | 171 | 557 | 260 |
MP4722 | 470/220 | 470 | 505 | 535 | 294 | 171 | 557 | 260 |
MP3722-7 | 370/220-7 | 370 | 405 | 435 | 294 | 171 | 557 | 295 |
MP4722-7 | 470/220-7 | 470 | 505 | 535 | 294 | 171 | 557 | 295 |


